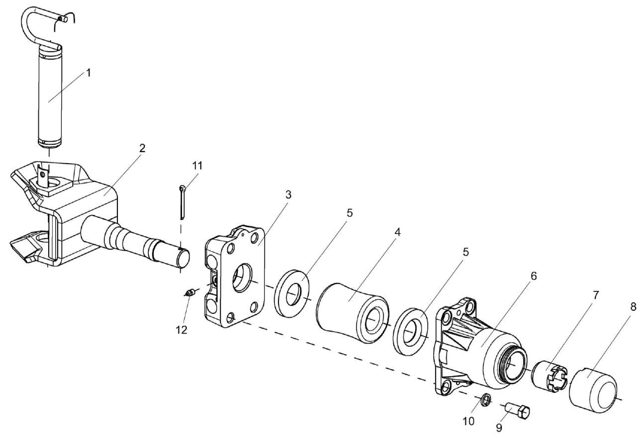
Схема: Устройство тягово-сцепное УЭС 0003150
Устройство тягово-сцепное УЭС 0003150
Увеличить
8:30 - 17:00 (пн-пт)
Республика Беларусь, Минский р-н, Колодищанский с/с, М-2, 9-ый км, 2/2-9, кабинет 402
8:30 - 17:00 (пн-пт)
Республика Беларусь, Минский р-н, пос. Колодищи В/Г 70